找回密码
 立即注册
澳门威尼斯人
U8
U18
海燕招商
A
蓝盾
e世博
islot.
申博亚洲
B
开云
腾博会
德信
C级广告商
吉祥坊
华体会
查看: 113603|回复: 65

[彩票] 【实战有奖】今天在申博7V玩彩票输了300多

[复制链接]

1211

主题

3万

回帖

783

金币

铂金用户

积分
91301

老会员交易勋章光影行者

发表于 2025-5-28 21:25 | 显示全部楼层 |阅读模式

马上注册,结交更多好友,享用更多功能,让你轻松玩转社区。

您需要 登录 才可以下载或查看,没有账号?立即注册

×
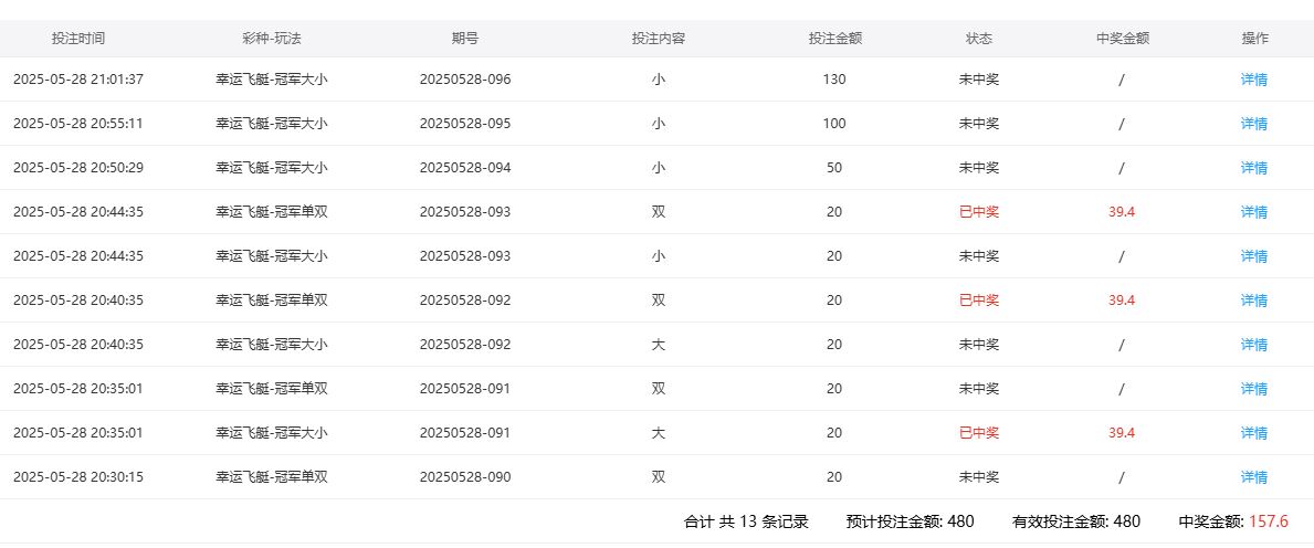
       今天到了申博7V去玩了彩票了。选择了幸运飞艇的游戏,可惜结果不好了啊。原来只是输了几十,但是我想追回来,结果越输越多,最后输了300多,实在是太惨啦 。
7 l, E% z" E* ]+ h" `" x9 X3 w& C6 l/ c# n' G
       我本来是观察了路子的,发现第5名的位置的单双大小和冠军位置的差不多,有些期数居然是一模一样,胜算很高。所以就决定这么打了啊。每一想到第一期就坏事了。第一期我根据8去打大和双,结果竟然是出了3,这是小单的数字啊,于是我就变成了2黑了啊。我就输了40大洋出去了啊。也是比较悲催的啊。
; ?9 k. v: p6 Y9 w        第2期,我根据4这个数字打了小和双各20大洋了。结果出了3这个小单的数字,我的下注就是一红一黑的啊。这样本期我是没有亏的啊。也是还算好的啊。其实本来我以为是会全对的,但是也是没有在我的预料之中了啊。
% U* V, |, q' k* D8 |0 x  s0 q4 I. O         第3期,我根据6这个数字打了大和双,但是结果出了7这个数字,这是大单了啊,于是我本期就也是一红1黑了啊。这本期是没有亏,但是我还是输,我没有回本了啊。也是不满足,不开心的啊。
" h' }5 I4 ?7 y1 v+ B: D        第4期了,我根据了10这个数字买了大和双,但是结果不理想,只是出了4,这个小双。我对了一半,也是还错了一半。这样我虽然没有输,但是还是赢不了也也是令人焦急了啊。: c, O4 e6 M' E' a
        第5期,我根据2这个数字买了小和双,每个20大洋。但是结果出了6,这是大双。于是我再一次的半对半错。又是赢不了钱了啊。也是很无奈啦。我想着自己虽然打完了任务,但是输了钱。于是就想扳本了啊。. x1 R, U6 F5 V- J; \/ w- Y. q8 W
       我看着冠军的大小好像是跳的路子,我就去买了小。因为想扳本,我直接下注了50大洋了。但是啊,真是无奈了,我居然错了 啊于是我输的更多了。我突然不服气了啊。我心里想着就是要扳本了啊。于是我就不信邪的再买100的小。我是以为小会出来的啊。
' m0 b2 ]4 {9 L: B       但是,小没有出来,上期出了9,这期出了8,我是真不开心的啊。我心想,已经输了一百多了啊。要不再打一把回点本吧。于是我就买了130的小。希望小这次再出来 。但是结果事与愿违了啊。又出了一个8。这样,我就输了300多了啊。我是真的不想输的,但是竟然输了。我不敢再买了。想着把筹码输了就算了。要是再不中,把本金搭进去就划不来了。所以还是就撤退了 啊。4 [) K9 X# M8 R' {. \
11.JPG 22.JPG
  X( C0 s  h# K/ A9 j6 M2 T
回复

使用道具 举报

39

主题

2086

回帖

560

金币

铜牌用户

积分
6225

老会员

发表于 2025-5-28 21:30 | 显示全部楼层
心态一崩就容易追大,咱以后看路子要多留心,别被输赢牵着鼻子走。
回复 支持 反对

使用道具 举报

2570

主题

5万

回帖

8785

金币

钻石用户

积分
178280

万时之王老会员精华勋章勤奋勋章交易勋章

发表于 2025-5-28 23:08 来自手机 | 显示全部楼层
楼主这次玩彩票运气不太好,后面几手大注都黑了,损失了300大洋
回复 支持 反对

使用道具 举报

2570

主题

5万

回帖

8785

金币

钻石用户

积分
178280

万时之王老会员精华勋章勤奋勋章交易勋章

发表于 2025-5-28 23:09 来自手机 | 显示全部楼层
江南雨 发表于 2025-5-28 21:30
/ x$ Z  p9 [( t/ h- v8 Z3 f心态一崩就容易追大,咱以后看路子要多留心,别被输赢牵着鼻子走。

4 Y8 y$ b1 Z: ]7 @2 i加注负追风险还是有点大,一旦运气不好连黑几手,注码上去人容易失控
回复 支持 反对

使用道具 举报

1498

主题

7万

回帖

2万

金币

海燕硕士

积分
242732

万时之王老会员精华勋章勤奋勋章交易勋章光影行者

发表于 2025-5-29 06:04 | 显示全部楼层
楼主这一次感觉输的有点多了,希望想办法尽快赢回来吧
回复 支持 反对

使用道具 举报

1498

主题

7万

回帖

2万

金币

海燕硕士

积分
242732

万时之王老会员精华勋章勤奋勋章交易勋章光影行者

发表于 2025-5-29 06:04 | 显示全部楼层
浴火凤凰 发表于 2025-5-28 23:08& D% z) [! z$ U
楼主这次玩彩票运气不太好,后面几手大注都黑了,损失了300大洋
! j/ I$ Q( v: N
这一次楼主的运气有点不太好了,大注黑了还是很郁闷的
回复 支持 反对

使用道具 举报

1498

主题

7万

回帖

2万

金币

海燕硕士

积分
242732

万时之王老会员精华勋章勤奋勋章交易勋章光影行者

发表于 2025-5-29 06:04 | 显示全部楼层
浴火凤凰 发表于 2025-5-28 23:09
% m$ B% u+ {, x* j1 Q加注负追风险还是有点大,一旦运气不好连黑几手,注码上去人容易失控
% e+ Y0 d' I7 F% k" ]6 X: e* g8 T* v) {
这个风险还是非常大的呢,所以我们还是要努力控制好自己的
回复 支持 反对

使用道具 举报

1842

主题

6万

回帖

4529

金币

钻石用户

积分
177883

万时之王老会员勤奋勋章交易勋章

发表于 2025-5-29 06:41 来自手机 | 显示全部楼层
浴火凤凰 发表于 2025-5-28 23:08: E+ G4 o+ U( H% {9 g
楼主这次玩彩票运气不太好,后面几手大注都黑了,损失了300大洋
5 A0 }5 f2 o1 v; ^% K: @" a
这样的运气是真的不好的呀,要么也不可能是亏损的节奏
回复 支持 反对

使用道具 举报

1842

主题

6万

回帖

4529

金币

钻石用户

积分
177883

万时之王老会员勤奋勋章交易勋章

发表于 2025-5-29 06:41 来自手机 | 显示全部楼层
cwx1994 发表于 2025-5-29 06:04
3 H2 W0 [+ @! Y. e7 m1 N+ {楼主这一次感觉输的有点多了,希望想办法尽快赢回来吧

5 |& m: X  J* S& s2 V' U$ e) x9 f  w这一次的损失真的是非常多,这个结果也是真的没有办法呀
回复 支持 反对

使用道具 举报

1842

主题

6万

回帖

4529

金币

钻石用户

积分
177883

万时之王老会员勤奋勋章交易勋章

发表于 2025-5-29 06:41 来自手机 | 显示全部楼层
第一次看见你亏损了这么多,这次的结果是真的不给力
回复 支持 反对

使用道具 举报

2321

主题

7万

回帖

8292

金币

海燕硕士

积分
219870

老会员超级精华精华勋章美女勋章勤奋勋章交易勋章万时之王

发表于 2025-5-29 07:12 | 显示全部楼层
这次的运气真不行输掉了这么多的钱要怎么才能搞回来
回复 支持 反对

使用道具 举报

2321

主题

7万

回帖

8292

金币

海燕硕士

积分
219870

老会员超级精华精华勋章美女勋章勤奋勋章交易勋章万时之王

发表于 2025-5-29 07:12 | 显示全部楼层
yb454553 发表于 2025-5-29 06:41
, M* P: t2 e. B# `% b第一次看见你亏损了这么多,这次的结果是真的不给力

; n! t+ ~) u, L不给力的时候也可以理解的,下次再想办法搞回来就行
回复 支持 反对

使用道具 举报

2321

主题

7万

回帖

8292

金币

海燕硕士

积分
219870

老会员超级精华精华勋章美女勋章勤奋勋章交易勋章万时之王

发表于 2025-5-29 07:12 | 显示全部楼层
cwx1994 发表于 2025-5-29 06:04& Z: h/ D. b% ~
这个风险还是非常大的呢,所以我们还是要努力控制好自己的

' H! I9 z" Y0 k0 f& v风险大的时候就是这样的,输掉了300多块也不是小钱了
回复 支持 反对

使用道具 举报

2321

主题

7万

回帖

8292

金币

海燕硕士

积分
219870

老会员超级精华精华勋章美女勋章勤奋勋章交易勋章万时之王

发表于 2025-5-29 07:13 | 显示全部楼层
cwx1994 发表于 2025-5-29 06:043 K/ P5 i; W! i* i. f
楼主这一次感觉输的有点多了,希望想办法尽快赢回来吧
% c/ J3 K7 R8 S! P; F
现在赚回来也是比较困难的,我们也能理解这样的一个心情
回复 支持 反对

使用道具 举报

2321

主题

7万

回帖

8292

金币

海燕硕士

积分
219870

老会员超级精华精华勋章美女勋章勤奋勋章交易勋章万时之王

发表于 2025-5-29 07:13 | 显示全部楼层
浴火凤凰 发表于 2025-5-28 23:087 |. I. E  R7 @2 r' w. p
楼主这次玩彩票运气不太好,后面几手大注都黑了,损失了300大洋
2 h- T; q4 }3 K2 c1 ~- a# J
彩票游戏也是不好玩啊,容易导致输钱的结果只能慢慢来再输
回复 支持 反对

使用道具 举报

您需要登录后才可以回帖 登录 | 立即注册

本版积分规则

广告合作|评测有奖|福利汇|论坛简介|钱包合集|手机版|小黑屋|Archiver|海燕论坛

快速回复 返回顶部 返回列表