找回密码
 立即注册
澳门威尼斯人
U8
U18
海燕招商
A
蓝盾
e世博
islot.
申博亚洲
B
开云
腾博会
德信
C级广告商
吉祥坊
米兰
华体会
查看: 67797|回复: 16

[足球推荐] 2025年4月30日03:00欧冠 阿森纳VS巴黎圣日尔曼

 火.. [复制链接]

228

主题

3469

回帖

2565

金币

银牌会员

积分
14966

老会员交易勋章

发表于 2025-4-29 19:24 | 显示全部楼层 |阅读模式

马上注册,结交更多好友,享用更多功能,让你轻松玩转社区。

您需要 登录 才可以下载或查看,没有账号?立即注册

×
推荐:小2.5
北京时间20254300300将迎来欧冠半决赛的一场比赛,阿森纳主场迎战巴黎圣日尔曼的比赛,两队都来到了半决赛,可以看出来还是非常有实力的,本产比赛也是会非常精彩。
1-1.png
战绩分析:
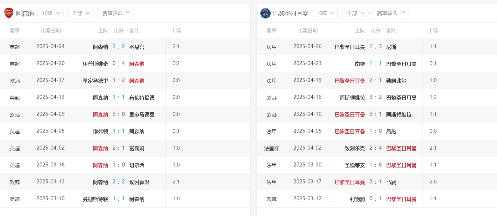
两队历史上仅有5次交手,阿森纳面对巴黎圣日尔曼取得了32平的战绩还是很有战绩上的优势的,最近一次是去年主场20轻松拿下了巴黎圣日尔曼。阿森纳近十场比赛取得了55平的战绩,整体还是非常不错的,在客场两连胜之后,很遗憾主场被水晶宫打平。巴黎圣日尔曼近十场取得了712负的战绩,胜场数比阿森纳都高出不少。
1-2.png 1-3.png
盘口分析:
本场比赛开出阿森纳主场让半球的盘口,可以看出两队实力差距不大,大小球开到了2.5,考虑首回合交手,两队应该都会谨慎一下,看好小球打出。
推荐:小2.5

/ J5 m* P, A/ k0 {
fakename.png
7 V1 I: J; z; F1 w4 O
回复

使用道具 举报

205

主题

7137

回帖

1229

金币

银牌会员

积分
16638

老会员光影行者

发表于 2025-4-29 19:30 | 显示全部楼层
盘口方面没有推荐么,我是想下注盘口,大小球看不懂
回复 支持 反对

使用道具 举报

480

主题

3万

回帖

4063

金币

铂金用户

积分
82154

老会员美女勋章勤奋勋章交易勋章

发表于 2025-4-29 20:03 | 显示全部楼层
这个盘口很不错,这场小球还是非常有机会打出来的
回复 支持 反对

使用道具 举报

3

主题

2645

回帖

1159

金币

铜牌用户

积分
8464

老会员

发表于 2025-4-29 21:07 | 显示全部楼层
首轮交锋,谁都不想先露底牌,这场面八成闷平,小球有点意思!
回复 支持 反对

使用道具 举报

25

主题

5932

回帖

3361

金币

金牌会员

积分
23563

老会员光影行者

发表于 2025-4-29 21:32 | 显示全部楼层
这场重磅对决,主队阿森纳对上巴黎圣日耳曼,让半球的生死盘路,从水位来看,阿森纳更有机会的。
回复 支持 反对

使用道具 举报

25

主题

5932

回帖

3361

金币

金牌会员

积分
23563

老会员光影行者

发表于 2025-4-29 21:33 | 显示全部楼层
初秋2323a 发表于 2025-4-29 20:03( w6 v( _6 q8 q8 g/ h
这个盘口很不错,这场小球还是非常有机会打出来的
! N% c; R( g" s# M) ?% y* u- Y' q
盘路分析,阿森纳最近持续不败,那么应该是要到进球的时刻了,大球更有机会
回复 支持 反对

使用道具 举报

3453

主题

6万

回帖

3263

金币

钻石用户

积分
187030

万时之王老会员勤奋勋章交易勋章

发表于 2025-4-30 07:26 | 显示全部楼层
楼主的推荐小球也是很准确的,这一场比赛全场进了一个球了
回复 支持 反对

使用道具 举报

3453

主题

6万

回帖

3263

金币

钻石用户

积分
187030

万时之王老会员勤奋勋章交易勋章

发表于 2025-4-30 07:27 | 显示全部楼层
决战夕阳 发表于 2025-4-29 21:33
; @1 b0 |& l2 ~6 S. O盘路分析,阿森纳最近持续不败,那么应该是要到进球的时刻了,大球更有机会 ...

  L$ J& F+ U- _+ y, H阿森纳这一场比赛让人失望了,看来大家期待太高了,主队一个进球都没有
回复 支持 反对

使用道具 举报

36

主题

1万

回帖

1428

金币

千足金牌会员

积分
41673

老会员美女勋章光影行者

发表于 2025-4-30 07:41 | 显示全部楼层
最后是0:1的结果,楼主的小球稳稳的打出来了,不错
回复 支持 反对

使用道具 举报

36

主题

1万

回帖

1428

金币

千足金牌会员

积分
41673

老会员美女勋章光影行者

发表于 2025-4-30 07:42 | 显示全部楼层
dollar 发表于 2025-4-30 07:268 ]# _; k/ w  j; Z1 N; w
楼主的推荐小球也是很准确的,这一场比赛全场进了一个球了

9 z! O; x7 o3 z" }2 V是啊,楼主的推荐还是十分的准确的,小球也是稳稳的
回复 支持 反对

使用道具 举报

1290

主题

4万

回帖

2178

金币

钻石用户

积分
136822

万时之王老会员勤奋勋章交易勋章

发表于 2025-4-30 19:04 | 显示全部楼层
阿森纳0-1巴黎圣日尔曼楼主的小球也是稳稳的盈利了 祝贺一下楼主的啊
回复 支持 反对

使用道具 举报

1290

主题

4万

回帖

2178

金币

钻石用户

积分
136822

万时之王老会员勤奋勋章交易勋章

发表于 2025-4-30 19:05 | 显示全部楼层
阿斯蒂芬 发表于 2025-4-29 19:30
! c" a2 I, x' F盘口方面没有推荐么,我是想下注盘口,大小球看不懂
/ o1 ~) Q% n5 R. j  i+ W
不明白的比赛可以直接跟着楼主杀啊 大部分都是可以盈利的啊
回复 支持 反对

使用道具 举报

1290

主题

4万

回帖

2178

金币

钻石用户

积分
136822

万时之王老会员勤奋勋章交易勋章

发表于 2025-4-30 19:05 | 显示全部楼层
dollar 发表于 2025-4-30 07:26
/ A) ^9 P/ z; I8 e' M+ T& {  B% y楼主的推荐小球也是很准确的,这一场比赛全场进了一个球了
$ H2 W" W' b# u6 c: e8 Y: }
两只球队的防守都是很稳固的 楼主去小球也是无可厚非的啊
回复 支持 反对

使用道具 举报

1290

主题

4万

回帖

2178

金币

钻石用户

积分
136822

万时之王老会员勤奋勋章交易勋章

发表于 2025-4-30 19:06 | 显示全部楼层
云水谣 发表于 2025-4-30 07:41# s7 {, b' A* L5 ?8 ~/ a* f
最后是0:1的结果,楼主的小球稳稳的打出来了,不错

% M/ c" ^# U' i. i8 a' c楼主的推荐也是非常的靠谱啊 希望你可以积极的跟进啊
回复 支持 反对

使用道具 举报

2339

主题

5万

回帖

7498

金币

钻石用户

积分
167950

万时之王老会员精华勋章勤奋勋章交易勋章

发表于 2025-5-1 02:13 来自手机 | 显示全部楼层
云水谣 发表于 2025-4-30 07:41+ u5 s! h) w# B0 I2 ]6 h
最后是0:1的结果,楼主的小球稳稳的打出来了,不错

2 U8 f+ _, ~. P/ y+ N这场球比赛结果0:1,全场进了1个球,楼主推荐小2.5球收米了,还不错
回复 支持 反对

使用道具 举报

您需要登录后才可以回帖 登录 | 立即注册

本版积分规则

广告合作|评测有奖|福利汇|论坛简介|钱包合集|手机版|小黑屋|Archiver|彩票开奖|海燕论坛

快速回复 返回顶部 返回列表